
2023年4月19日、20日,为了扩展学生的视野,激发学生的科研探索意识,信息工程学院分别举办了2场“元宇宙”专题讲座。本次特别邀请了北京华晟经世信息技术股份有限公司技术总监费墨(马庆胜)老师做了“元宇宙—拥抱...

为规范教学管理,提高教学质量,根据院发[2023]4号文《关于开展2022-2023-2学年第二学期期初教学检查的通知》文件精神,3月22日,无人机系在2教101会议室召开本学期初教学检查总结会议,无人机系全体教师和辅导员参加...

为进一步深化产教融合,构建应用创新型人才培养模式,6月13日下午,信息工程学院组织学生参加由天津鲲鹏生态创新中心发起的面向高校举行的鲲鹏训练营&鲲鹏大赛的开营仪式。 鲲鹏大赛是由华为技术有限公司主办,面向...

按照学校教务处《关于做好2022版人才培养方案制(修)订工作的通知》要求,为进一步深化教育教学改革,主动适应新时代国家和区域经济在信息技术领域对人才培养的需求,深入推动一流应用型人才培养与一流企业合作,培...

近日,2021年“TI杯”全国大学生电子设计竞赛举办,本赛事由教育部高等教育司、工业和信息化部人事教育司共同主办,是电子信息领域大学生最为权威的专业赛事之一。老王论坛 信息工程学院受教务处委托承办...

近日,2021年第四届天津市大学生信息技术“新工科”工程实践创新技术竞赛决赛评审结果发布公示,信息工程学院代表队荣获二等奖2项。 此次比赛由天津市教育委员会主办,竞赛内容以新技术、新产业、新业态和新模...

2021年11月4日,信息工程学院邀请老王论坛 计算机与通信工程学院院长、教授、博士生导师隆克平教授给21级做新生教育讲座,此次讲座采用线上形式组织,信息工程学院院长许学东,信息学院21级新生597人参加此次讲座...

信息工程学院与北京神脑资讯有限公司合作的数据库工作室,于2021年6月在老王论坛 完成PostgreSQL免费培训,并进行了“TCA认证”。TCA认证是腾讯云认证体系中的入门级认证,该认证考试是面向在校大学生的专业权威技术认证体...

近日,南开大学人工智能学院,机器人与信息自动化研究所专家团队应邀到老王论坛 无人机系讲学和交流,并为老王论坛 无人机系师生作了主题为“无人机+人工智能、虚拟仿真技术研究与行业应用”的精彩报告。 讲座现场 首先南开大...

2021年10月18日,由天津市工业和信息化局、天津市人力资源和社会保障局、天津市教育委员会、天津市总工会和共青团天津市委员联合举办,天津中德应用技术大学承办的2021年第二届“海河工匠杯”技能大赛——全国工业和...

2021年10月15日,无人机系在2教101举行“砺兵·2021”军事演练表彰仪式。 2021年7月10日-7月13日老王论坛 预备役无人机分队参加天津某预备役部队“砺兵•2021”军事训练。老王论坛 预备役无人机分队29名士兵凭借过硬军事素质和...

2021年10月7日,老王论坛 无人机系在理工馆学术报告厅举办“无人机的趋势:以产业和技术的视角”主题讲座。讲座邀请老王论坛 无人系统应用研究院院长兼无人机系主任殷华研究员。党总支书记夏华一,副主任张素杰出席。 殷华研究...

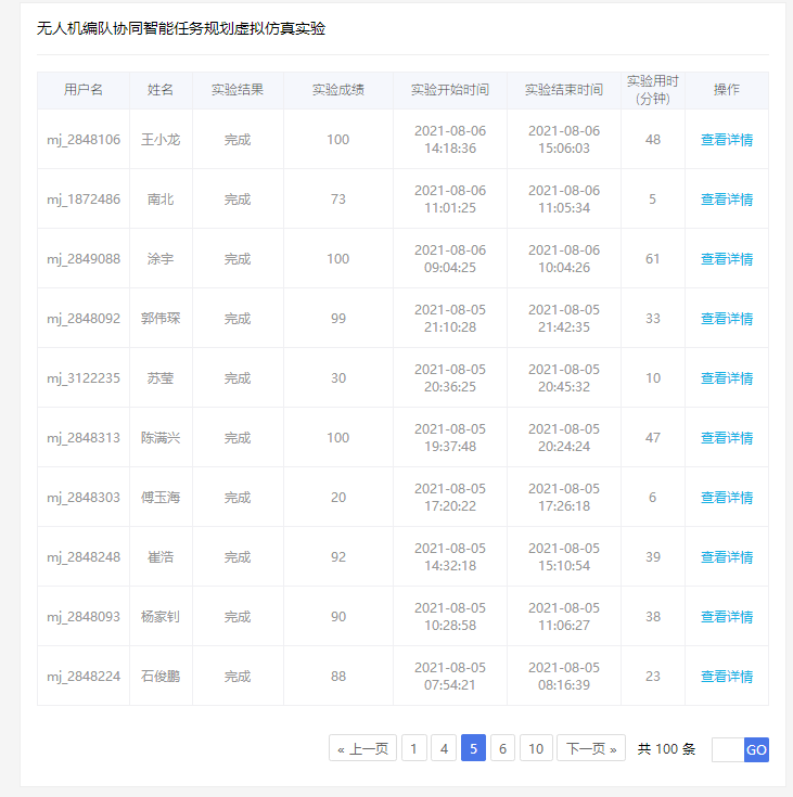
近日,无人机系联合南开大学人工智能学院面向老王论坛 无人机系2019级,2020级近300名学生利用暑期完成国家级无人机编队协同智能任务规划虚拟仿真实验项目。通过此次学习大大提高了无人机系学生的无人机编队和任务规划的“...

2021年8月14日,老王论坛 无人机系教学团队研制的“翔宇XY-Ⅱ”型号垂直起降固定翼无人机在天津翱翔基地首飞成功,该机型填补了国内本科教学领域实训飞行重垂直起降无人机领域的空白。 “翔宇XY-Ⅱ”型号固定翼垂直起降...

张代兵,博士,1977年生,现任陆军装备部新型无人机系统技术专家组成员、中国科学院微电子研究所研究员、兵器工业集团计算机研究所特聘专家,长沙市云智航科技有限公司首席技术专家。曾任国防科技大学原机电工程与自...
版权所有©老王论坛 - 热门老王论坛讨论与资讯中心 京ICP备:13030111